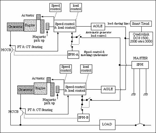
Wiring Diagram Panel Kontrol Genset

Wiring Diagram Panel Kontrol Genset

  • Category : Kontrol Genset
  • Post Date : January 22, 2026
Wiring Diagram Panel Kontrol Genset 9 out of 10 based on 30 ratings. 60 user reviews.

Wiring Diagram Panel Kontrol Genset

Ferryxseven Load Sharing Pembagi Beban

Amf

Amf

Rangkaian Panel Ats Genset 3 Fasa Upgare Dari Sistem 1 Fasa

Wiring Diagram Otomatis Mesin Gulung Ii

Etnik Sugitama Engineering Panel Kontrol Ats

Cara Membuat Rangkaian Panel Ats Amf Dari Berbagai Ahli Kelistrikan

Blog Teknik U0026 Vokasi Diagram Kontrol Pada Sistem Kontrol Elektromagnetik

Gensetpanelatsbagusmurah Blogspot Co Id 0813 16610138 0856

Panelatsamfsinkron Blogspot Co Id 0856 8536742 0813 16610138 Panel Ats Panel Ats Murah

Sparepartsgensetperkinscummins Blogspot Co Id 0856

Panelatsamfsinkron Blogspot Co Id 0813 16610138 0856

Jualhargagensetmurah Blogspot Com 0813

Gensetpanelatsbagusmurah Blogspot Co Id 0813 1661 0138 0856 8536742 Jual Ecu Ecm Komputer

Diagram Wiring Diagram Panel Kontrol Genset

  • Download Wiring Diagram Panel Kontrol Genset

    draw.io is free online diagram software for making flowcharts, process diagrams, org charts, UML, ER and network diagrams

    Open and edit diagrams online with Draw.io, a free diagram software supporting various formats and diagram types.

    Create a new diagram, or open an existing diagram in your new tab. To create a new diagram, enter a Diagram Name and click the location where you want to save the file.

    Create flowcharts and diagrams online with this easy to use software.

    Create and edit diagrams with draw.io, a free diagramming tool that integrates seamlessly with Office 365.

    Easily import diagrams from Lucidchart to diagrams.net or draw.io with this simple tool.

    Access and integrate Google Drive files with Draw.io using the Google Picker tool for seamless diagram creation.

    Clearing Cached version 29.3.2... OK Update Start App

    confEmbedUpload=For a better editing experience, please use the regular draw.io macro to insert a blank diagram, then from (File menu → Import From → Device...) select the file you want to upload and embed.

    Editing the diagram from page view may cause data loss. Please edit the Confluence page first and then edit the diagram. confConfigSpacePerm=Note: If you recently migrated from DC app, please check draw.io Configuration space permissions such that all users can read and only admins can write.

    3 way switch,3 way switch wiring,3 way switch wiring diagram pdf,3 way wiring diagram,3way switch wiring diagram,4 prong dryer outlet wiring diagram,4 prong trailer wiring diagram,6 way trailer wiring diagram,7 pin trailer wiring diagram with brakes,7 pin wiring diagram,alternator wiring diagram,amp wiring diagram,automotive lighting,cable harness,chevrolet,diagram,dodge,doorbell wiring diagram,ecobee wiring diagram,electric motor,electrical connector,electrical wiring,electrical wiring diagram,ford,fuse,honeywell thermostat wiring diagram,ignition system,kenwood car stereo wiring diagram,light switch wiring diagram,lighting,motor wiring diagram,nest doorbell wiring diagram,nest hello wiring diagram,nest labs,nest thermostat,nest thermostat wiring diagram,phone connector,pin,pioneer wiring diagram,plug wiring diagram,pump,radio,radio wiring diagram,relay,relay wiring diagram,resistor,rj45 wiring diagram,schematic,semi-trailer truck,sensor,seven pin trailer wiring diagram,speaker wiring diagram,starter wiring diagram,stereo wiring diagram,stereophonic sound,strat wiring diagram,switch,switch wiring diagram,telecaster wiring diagram,thermostat wiring,thermostat wiring diagram,trailer brake controller,trailer plug wiring diagram,trailer wiring diagram,user guide,wire,wire diagram,wiring diagram,wiring diagram 3 way switch,wiring harness

    close