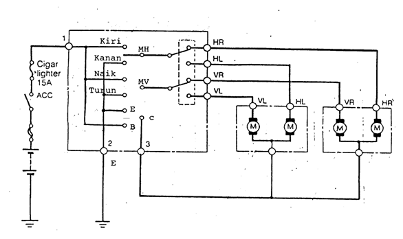
Wiring Diagram Central Lock Dan Power Window

Wiring Diagram Central Lock Dan Power Window

  • Category : Power Window
  • Post Date : January 22, 2026
Wiring Diagram Central Lock Dan Power Window 9 out of 10 based on 40 ratings. 30 user reviews.

Wiring Diagram Central Lock Dan Power Window

Komponen Central Lock Power Window Dan Cara Kerjanya

Komponen Otomotif Power Window Central Door Lock Dan

Komponen Otomotif Power Window Central Door Lock Dan

Komponen Otomotif Power Window Central Door Lock Dan

Skema Wiring Diagram Kamera Mundur Central Lock Dan Power

Power Window

Komponen Otomotif Power Window Central Door Lock Dan

Komponen Central Lock Power Window Dan Cara Kerjanya

Komponen Otomotif Power Window Central Door Lock Dan

Komponen Otomotif Power Window Central Door Lock Dan

Solved 1992 Miata Fuse Diagram Location Of Power Window

Power Window

Kereta Ku Sayang Sambungan Alarm Dan Central Lock

Hey Ive Got Central Locking In My Car But It Only Works

Komponen Otomotif Power Window Central Door Lock Dan

Central Door U0026 Power Window Output Keyless Entry Car Alarm

Power Window Output Keyless Entry System And Remote

Semua Bisa Diy Wiring Diagram Lancer Cb Series

Electric 2 Door Windows Power Kit 4 Door Car Central Lock

Peachy 4 Door Freightliner Central Door Fargo Reliabilt

Komponen Otomotif Power Window Central Door Lock Dan

One Way Universal Remote Control Car Keyless Entry System

Hey Ive Got Central Locking In My Car But It Only Works

Door Diagram U0026 Combination Screen U0026 Storm Doors U0026quot U0026quot Sc

Hey Ive Got Central Locking In My Car But It Only Works

I Have A 1999 Dodge Dakoda 4x4 3 9 L The Right Door

Dropshipping For Car Central Locking Power 4 Door Lock

Pasang Switch Power Window U0026 Central Lock

Central Door U0026 Power Window Output Keyless Entry Car Alarm

Avanza Wiring Diagram

Mgf Schaltbilder Inhalt Wiring Diagrams Of The Rover Mgf

Cardot Top Quality Smart Car Alarm Pke Car Alarm Alarm Car

Universal Keyless Entry System Car Smart Keyless Entry

I Have Just Purchased A Second Hand 1986 300se Which Has 3

Komponen Otomotif Power Window Central Door Lock Dan

1992 Audi 80 Lock And Alarm Control Unit Wiring Diagram

12v Universal Remote Central Door Locking Car Keyless

Mfk Keyless Entry Wiring Diagram 285 Wiring Diagrams

Central Door Lock Alarm Power Window Power Mirror

Radio Problems I Think I Have A Shortage In A Wire In My

2x Door Car Power Window Keyless Door Unlock Kit For

Car Auto Heavy Duty Power Door Lock Actuator Motor 5 Wire

Central Door U0026 Power Window Output Keyless Entry Car Alarm

No Power To Passenger Door

I Have A 2005 Ford Focus Door Lock Problem I Have Removed

Repair 735il 750il 1988 Electrical

Ex Doors With Power Windows Into A Cx - Honda-tech

Best Quality Auto Door Security Entry Remote Control Car

Jeep Wiring 2005 Jeep Grand Cherokee Engine Diagram

Diagram Wiring Diagram Central Lock Dan Power Window

  • Download Wiring Diagram Central Lock Dan Power Window

    draw.io is free online diagram software for making flowcharts, process diagrams, org charts, UML, ER and network diagrams

    Open and edit diagrams online with Draw.io, a free diagram software supporting various formats and diagram types.

    Create a new diagram, or open an existing diagram in your new tab. To create a new diagram, enter a Diagram Name and click the location where you want to save the file.

    Create flowcharts and diagrams online with this easy to use software.

    Create and edit diagrams with draw.io, a free diagramming tool that integrates seamlessly with Office 365.

    Easily import diagrams from Lucidchart to diagrams.net or draw.io with this simple tool.

    Access and integrate Google Drive files with Draw.io using the Google Picker tool for seamless diagram creation.

    Clearing Cached version 29.3.2... OK Update Start App

    confEmbedUpload=For a better editing experience, please use the regular draw.io macro to insert a blank diagram, then from (File menu → Import From → Device...) select the file you want to upload and embed.

    Editing the diagram from page view may cause data loss. Please edit the Confluence page first and then edit the diagram. confConfigSpacePerm=Note: If you recently migrated from DC app, please check draw.io Configuration space permissions such that all users can read and only admins can write.

    3 way switch,3 way switch wiring,3 way switch wiring diagram pdf,3 way wiring diagram,3way switch wiring diagram,4 prong dryer outlet wiring diagram,4 prong trailer wiring diagram,6 way trailer wiring diagram,7 pin trailer wiring diagram with brakes,7 pin wiring diagram,alternator wiring diagram,amp wiring diagram,automotive lighting,cable harness,chevrolet,diagram,dodge,doorbell wiring diagram,ecobee wiring diagram,electric motor,electrical connector,electrical wiring,electrical wiring diagram,ford,fuse,honeywell thermostat wiring diagram,ignition system,kenwood car stereo wiring diagram,light switch wiring diagram,lighting,motor wiring diagram,nest doorbell wiring diagram,nest hello wiring diagram,nest labs,nest thermostat,nest thermostat wiring diagram,phone connector,pin,pioneer wiring diagram,plug wiring diagram,pump,radio,radio wiring diagram,relay,relay wiring diagram,resistor,rj45 wiring diagram,schematic,semi-trailer truck,sensor,seven pin trailer wiring diagram,speaker wiring diagram,starter wiring diagram,stereo wiring diagram,stereophonic sound,strat wiring diagram,switch,switch wiring diagram,telecaster wiring diagram,thermostat wiring,thermostat wiring diagram,trailer brake controller,trailer plug wiring diagram,trailer wiring diagram,user guide,wire,wire diagram,wiring diagram,wiring diagram 3 way switch,wiring harness

    close