Subaru Brz Engine Diagram

Subaru Brz Engine Diagram

  • Category : Engine Diagram
  • Post Date : January 22, 2026
Subaru Brz Engine Diagram 9 out of 10 based on 50 ratings. 30 user reviews.

Subaru Brz Engine Diagram

Perrin Performance Cold Air Intake For Scion Fr Subaru Brz

25 Best Images About Engines On Pinterest

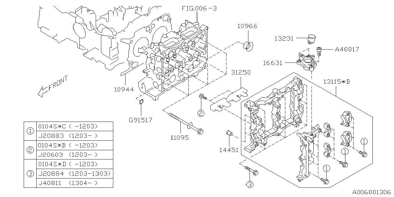
13114aa060

16625jb010

The Gt86 Blueprint Photograph By Mark Rogan

Fa20d Subaru Engine

Subaru Forester Timing Belt Or Chain

Equal Length Exhaust Manifold Fr Brz

Aprilia Rs 125 Aprilia Rs 125 Wiring Diagrams

20470aj000

Bunton Bobcat Ryan 642226 Bzt 2200d W 61 U0026quot Side Discharge

Brz Map Sensor Re

Audi A4 B6 2001

Diagram Subaru Brz Engine Diagram

  • Download Subaru Brz Engine Diagram

    Abraham Lincoln[b] (February 12, 1809 – April 15, 1865) was the 16th president of the United States, serving from 1861 until his assassination in 1865. He led the United States through the American Civil War, defeating the Confederate States and playing a major role in the abolition of slavery.

    Abraham Lincoln (born February 12, 1809, near Hodgenville, Kentucky, U.S.—died April 15, 1865, Washington, D.C.) was the 16th president of the United States (1861–65), who preserved the Union during the American Civil War and brought about the emancipation of enslaved people in the United States.

    In April 1865, with the Union on the brink of victory, Abraham Lincoln was assassinated by Confederate sympathizer John Wilkes Booth. Lincoln’s assassination made him a martyr to the cause of...

    President Abraham Lincoln freed enslaved people and led the Union during the Civil War. Learn about his birthday, height, election, assassination, and more.

    The biography for President Lincoln and past presidents is courtesy of the White House Historical Association. Abraham Lincoln became the United States’ 16th President in 1861, issuing the Emancipation Proclamation that declared forever free those slaves within the Confederacy in 1863.

    Abraham Lincoln, the 16th President of the United States, is known for leading the nation during the Civil War, enacting the Emancipation Proclamation, and...

    Lincoln, an awesome physical specimen at 6 feet 4, was widely known for his wrestling skills and had only one recorded defeat in a dozen years. At age 19, he defended his stepbrother's river barge from Natchez thugs by throwing the hijackers overboard.

    Articles Abraham Lincoln: The Last Founding Father When he was born in the backwoods of Kentucky, there was absolutely no sign, nor reason to believe, that Abraham Lincoln would ever amount to much in public life, much less grow up to be one of the most consequential leaders in our nation’s history.

    On Good Friday, April 14, 1865, Lincoln was assassinated at Ford’s Theatre in Washington by John Wilkes Booth, an actor, who somehow thought he was helping his beloved South. Lincoln died the following morning at Petersen House, and with his death went the possibility of peace with magnanimity.

    Lincoln's 1860 U.S. presidential election victory was marred by the quick secession of seven Southern states, leading to the Civil War (1861–1865), the bloodiest conflict in U.S. history.

    3 way switch,3 way switch wiring,3 way switch wiring diagram pdf,3 way wiring diagram,3way switch wiring diagram,4 prong dryer outlet wiring diagram,4 prong trailer wiring diagram,6 way trailer wiring diagram,7 pin trailer wiring diagram with brakes,7 pin wiring diagram,alternator wiring diagram,amp wiring diagram,automotive lighting,cable harness,chevrolet,diagram,dodge,doorbell wiring diagram,ecobee wiring diagram,electric motor,electrical connector,electrical wiring,electrical wiring diagram,ford,fuse,honeywell thermostat wiring diagram,ignition system,kenwood car stereo wiring diagram,light switch wiring diagram,lighting,motor wiring diagram,nest doorbell wiring diagram,nest hello wiring diagram,nest labs,nest thermostat,nest thermostat wiring diagram,phone connector,pin,pioneer wiring diagram,plug wiring diagram,pump,radio,radio wiring diagram,relay,relay wiring diagram,resistor,rj45 wiring diagram,schematic,semi-trailer truck,sensor,seven pin trailer wiring diagram,speaker wiring diagram,starter wiring diagram,stereo wiring diagram,stereophonic sound,strat wiring diagram,switch,switch wiring diagram,telecaster wiring diagram,thermostat wiring,thermostat wiring diagram,trailer brake controller,trailer plug wiring diagram,trailer wiring diagram,user guide,wire,wire diagram,wiring diagram,wiring diagram 3 way switch,wiring harness

    close