Huawei P6 Diagram

Huawei P6 Diagram

  • Category : P6 Diagram
  • Post Date : January 22, 2026
Huawei P6 Diagram 9 out of 10 based on 70 ratings. 70 user reviews.

Huawei P6 Diagram

The Primavera P6 Professional Network Diagram

Primavera P6 Create A Network Logic Diagram

The Primavera P6 Professional Network Diagram

The Primavera P6 Professional Network Diagram

The Primavera P6 Professional Network Diagram

The Primavera P6 Professional Network Diagram

The Primavera P6 Professional Network Diagram

Using Activity Network Diagram Layouts In Primavera P6

The Primavera P6 Professional Network Diagram

Working With The Oracle Primavera P6 Eppm Suite

P6 Db Entity Relationship Diagram

Primavera P6 Professional Trace Logic Feature

The Primavera P6 Professional Network Diagram

About P6 Eppm

The Primavera P6 Professional Work Breakdown Structure

Timescaled Logic Diagram

Oracle Primavera Working With The Oracle Primavera P6 Eppm

Using Activity Network Layouts In Primavera P6

Using Activity Network Diagram Layouts In Primavera P6

Graneda Dynamic With Primavera P6 Network Diagram 3

Removing All Schedule Activity Relationships U0026 39 The Cool Way

The Primavera P6 Professional Work Breakdown Structure

What Is P6 Visualizer

Using Activity Network Diagram Layouts In Primavera P6

Athlon U0026 39 S Architecture

Security Concepts In P6 Eppm

Revitalised Wiper Delay

Sig Sauer P6 A West German Bargain For Now

Appendix D

1988 Chevy Gmc P4 P6 Wiring Diagram Motorhome Stepvan

Working With The Oracle Primavera P6 Eppm Suite

P6 1967

P6 3500 Auto 1974 Distributor Issues

Working With Oracle Primavera P6 Eppm P6 Analytics And

Could U0026 39 Ve Had A Turbine 1970 Rover P6

Primavera P6 Professional Trace Logic Feature

Understanding Primavera Xer Files

Ba Blog Jan 2014

Ignition Switch 4 Wire New

P6 R8 2 Color Coded Activity Codes In The Timescaled Logic

Huawei P6layout Schematic

Primavera P6 U0026 Time

J R Wadhams Ltd

The World U0026 39 S Newest Photos Of Diagram And Wiring

Primavera P6 Release 8 2 Tsld With Color Coded Activity

Solved 6 32 Figure P6 32 Provides The T

Chasing Down Logic In P6 Trace Logic To The Rescue

Cpm Scheduling 101 How Primavera Scheduling Works

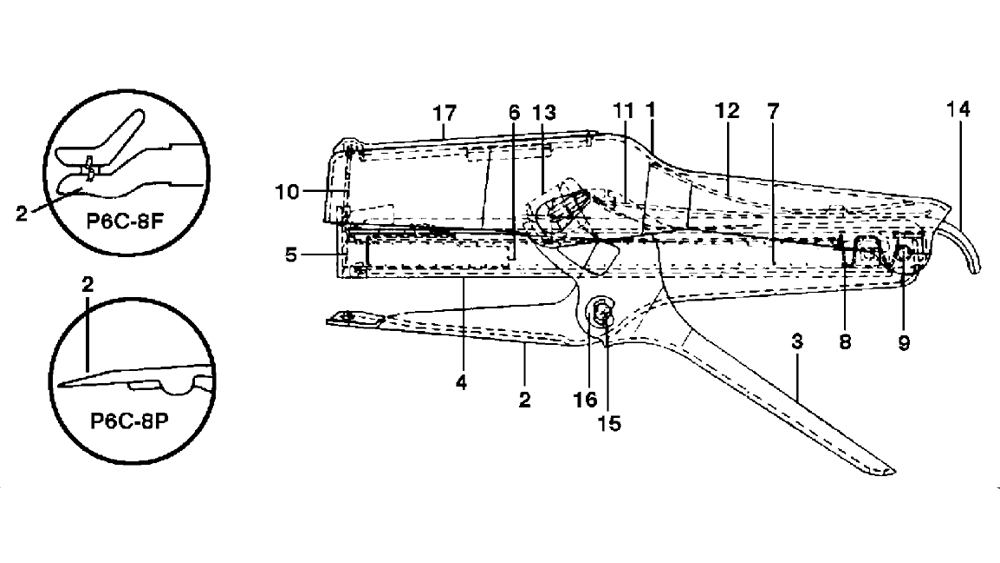
Buy Bostitch P6c Replacement Tool Parts

1992 Chevy Kodiak Gmc Topkick And P6 Wiring Diagram

Pertronix Electronic Ignition Fitted To A Rover P6b

Us De Ship 4axis Nema34 Stepper Motor 1600oz In U0026driver

Wiring Loom

Architecture For Cloud

Land Rover Faq - Repair U0026 Maintenance

Solved Use The Dependency Diagram Shown In Figure P6 8 To

Diagram Huawei P6 Diagram

  • Download Huawei P6 Diagram

    draw.io is free online diagram software for making flowcharts, process diagrams, org charts, UML, ER and network diagrams

    Open and edit diagrams online with Draw.io, a free diagram software supporting various formats and diagram types.

    Create a new diagram, or open an existing diagram in your new tab. To create a new diagram, enter a Diagram Name and click the location where you want to save the file.

    Create flowcharts and diagrams online with this easy to use software.

    Create and edit diagrams with draw.io, a free diagramming tool that integrates seamlessly with Office 365.

    Easily import diagrams from Lucidchart to diagrams.net or draw.io with this simple tool.

    Access and integrate Google Drive files with Draw.io using the Google Picker tool for seamless diagram creation.

    Clearing Cached version 29.3.2... OK Update Start App

    confEmbedUpload=For a better editing experience, please use the regular draw.io macro to insert a blank diagram, then from (File menu → Import From → Device...) select the file you want to upload and embed.

    Editing the diagram from page view may cause data loss. Please edit the Confluence page first and then edit the diagram. confConfigSpacePerm=Note: If you recently migrated from DC app, please check draw.io Configuration space permissions such that all users can read and only admins can write.

    3 way switch,3 way switch wiring,3 way switch wiring diagram pdf,3 way wiring diagram,3way switch wiring diagram,4 prong dryer outlet wiring diagram,4 prong trailer wiring diagram,6 way trailer wiring diagram,7 pin trailer wiring diagram with brakes,7 pin wiring diagram,alternator wiring diagram,amp wiring diagram,automotive lighting,cable harness,chevrolet,diagram,dodge,doorbell wiring diagram,ecobee wiring diagram,electric motor,electrical connector,electrical wiring,electrical wiring diagram,ford,fuse,honeywell thermostat wiring diagram,ignition system,kenwood car stereo wiring diagram,light switch wiring diagram,lighting,motor wiring diagram,nest doorbell wiring diagram,nest hello wiring diagram,nest labs,nest thermostat,nest thermostat wiring diagram,phone connector,pin,pioneer wiring diagram,plug wiring diagram,pump,radio,radio wiring diagram,relay,relay wiring diagram,resistor,rj45 wiring diagram,schematic,semi-trailer truck,sensor,seven pin trailer wiring diagram,speaker wiring diagram,starter wiring diagram,stereo wiring diagram,stereophonic sound,strat wiring diagram,switch,switch wiring diagram,telecaster wiring diagram,thermostat wiring,thermostat wiring diagram,trailer brake controller,trailer plug wiring diagram,trailer wiring diagram,user guide,wire,wire diagram,wiring diagram,wiring diagram 3 way switch,wiring harness

    close