Holley Hp Efi Diagram

Holley Hp Efi Diagram

  • Category : Efi Diagram
  • Post Date : January 22, 2026
Holley Hp Efi Diagram 9 out of 10 based on 80 ratings. 60 user reviews.

Holley Hp Efi Diagram

Holley Hp Efi Wiring - Corvetteforum

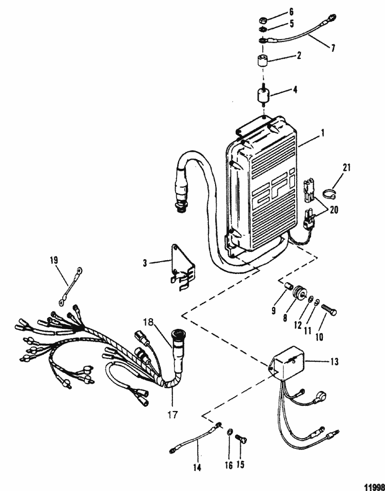
90 Hp Mercury 4 Stroke Efi Electrical Diagram

90 Hp Mercury 4 Stroke Efi Electrical Diagram

Mercury Marine 25 Hp Jet Efi 3 Cylinder 4

Mercury Marine 90 Hp Efi 4

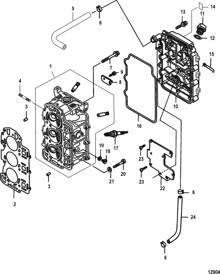
Mercury Marine 115 Hp Efi 4

Mercury Marine 115 Hp Efi 4

Mercury Marine 60 Hp Efi 4 Cylinder 4

Mercury Marine 115 Hp Efi 4

Holley Ls Hp Efi Ecu U0026 Harness Kit 550-602n

Mercury Marine 40 Hp Efi 4 Cylinder 4

Gravely 992033 035000

Holley Hp Efi Wiring Diagram

I Have A 25 Hp Efi Mercury 4 Stroke Elpt That I Didn U0026 39 T Use For About 18 Mths And Now It Won U0026 39 T

Mercury Marine 60 Hp Efi 4 Cylinder 4

Mercury Marine V

Mercury Mercury U0026 Mariner Outboard Parts By Hp U0026 Liter 90hp Oem Parts Diagram For Electrical

Mercury Marine 115 Hp Efi 4

Mercury Marine V

Kohler Ecv940

Mercury Marine 115 Hp Efi 4

Mercury Marine 90 Hp Efi 4

Mercury Marine 225 Hp 3 0l Efi Shift Linkage Parts

Mariner 75 Hp Efi 4

Mercury Marine 115 Hp Efi 4

Mercury Marine 25 Hp Efi 3 Cylinder 4

Mercury Marine 50 Hp Efi 4 Cylinder 4

Mercury Marine 40 Hp Efi 3 Cylinder 4

Holley Efi 558-508 Universal Ford V-8 Harness Kit

Holley Efi 558-102 Ls1 6 24x 1x Engine Main Harness

Mercury Marine 60 Hp Efi 4 Cylinder 4-stroke Electrical Components Usa Belgium

Mercury Marine 40 Hp Efi 3 Cylinder 4

Mercury Marine 115 Hp Efi 4

Kohler Ecv980

Holley Efi 558 6 24x 1x Engine Main Harness

I Have A Mercury 60 Hp 4 Stroke Efi 2004 Serial Ot868853 I Am Looking For A Diagram Of The Fuel

Mercury Marine 115 Hp Efi 4

Mercury Jet Drive Parts

Mercury Marine 40 Hp Efi 3 Cylinder 4

Kohler Lh775

Mercury Marine V Starter Solenoid Parts

Mercury Marine 115 Hp Efi 4 Starboard Cylinder Block Components Parts

Mercury Marine V

Mercury Marine 25 Hp Efi 3 Cylinder 4

Kohler Command Ech730 Efi Wiring Diagram

Mercury Marine V

Diagram Holley Hp Efi Diagram

  • Download Holley Hp Efi Diagram

    draw.io is free online diagram software for making flowcharts, process diagrams, org charts, UML, ER and network diagrams

    Open and edit diagrams online with Draw.io, a free diagram software supporting various formats and diagram types.

    Create a new diagram, or open an existing diagram in your new tab. To create a new diagram, enter a Diagram Name and click the location where you want to save the file.

    Create flowcharts and diagrams online with this easy to use software.

    Create and edit diagrams with draw.io, a free diagramming tool that integrates seamlessly with Office 365.

    Easily import diagrams from Lucidchart to diagrams.net or draw.io with this simple tool.

    Access and integrate Google Drive files with Draw.io using the Google Picker tool for seamless diagram creation.

    Clearing Cached version 29.3.2... OK Update Start App

    confEmbedUpload=For a better editing experience, please use the regular draw.io macro to insert a blank diagram, then from (File menu → Import From → Device...) select the file you want to upload and embed.

    Editing the diagram from page view may cause data loss. Please edit the Confluence page first and then edit the diagram. confConfigSpacePerm=Note: If you recently migrated from DC app, please check draw.io Configuration space permissions such that all users can read and only admins can write.

    3 way switch,3 way switch wiring,3 way switch wiring diagram pdf,3 way wiring diagram,3way switch wiring diagram,4 prong dryer outlet wiring diagram,4 prong trailer wiring diagram,6 way trailer wiring diagram,7 pin trailer wiring diagram with brakes,7 pin wiring diagram,alternator wiring diagram,amp wiring diagram,automotive lighting,cable harness,chevrolet,diagram,dodge,doorbell wiring diagram,ecobee wiring diagram,electric motor,electrical connector,electrical wiring,electrical wiring diagram,ford,fuse,honeywell thermostat wiring diagram,ignition system,kenwood car stereo wiring diagram,light switch wiring diagram,lighting,motor wiring diagram,nest doorbell wiring diagram,nest hello wiring diagram,nest labs,nest thermostat,nest thermostat wiring diagram,phone connector,pin,pioneer wiring diagram,plug wiring diagram,pump,radio,radio wiring diagram,relay,relay wiring diagram,resistor,rj45 wiring diagram,schematic,semi-trailer truck,sensor,seven pin trailer wiring diagram,speaker wiring diagram,starter wiring diagram,stereo wiring diagram,stereophonic sound,strat wiring diagram,switch,switch wiring diagram,telecaster wiring diagram,thermostat wiring,thermostat wiring diagram,trailer brake controller,trailer plug wiring diagram,trailer wiring diagram,user guide,wire,wire diagram,wiring diagram,wiring diagram 3 way switch,wiring harness

    close