Force 120 Engine Diagram

Force 120 Engine Diagram

  • Category : Engine Diagram
  • Post Date : January 22, 2026
Force 120 Engine Diagram 9 out of 10 based on 50 ratings. 40 user reviews.

Force 120 Engine Diagram

Honda Engines Gx120k1 Qa2 Engine Jpn Vin Gc01

Force 120 Hp 1991 L

Force 120 Hp 1998 Carburetor Parts

Force 120 Hp 1997 Carburetor Parts

Husqvarna Lth 120 Hclth120a 954140003 1997

Force 120 Hp 1990 L

Carburetor Rochester For Mercruiser 120 Hp 2 5l140 Hp

Mercruiser 120 Gm 153 I L4 1983

Mercruiser 2 5l Gm 153 I L4 1987

Omc Stern Drive Miscellaneous Group 120 Hp Parts For 1969

Honda Engines Gx120k1 Ar A Engine Jpn Vin Gc01

Force 120 Hp 1990

Honda Engines Gx120ut2 Wks Engine Tha Vin Gcbmt

Force 120 Hp 1990-1994 Carburetor 0e009500

Honda Engines Gx120u1 Tx2 Engine Jpn Vin Gcahk

Force 120 Hp 1998 Reed Plate U0026 Primer Parts

Force 120 Hp 1990-1994 Design I

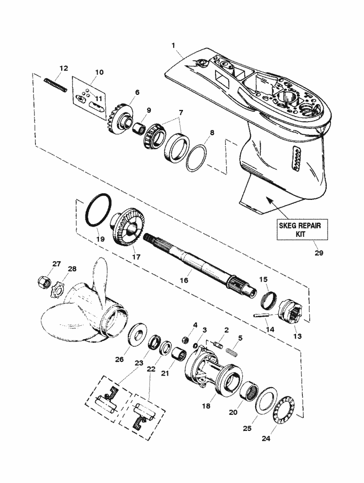
Force 120 Hp 1998 Gear Housing Assembly Driveshaft Parts

Honda Engines Gx120ut2 Wkt2 Engine Tha Vin Gcbmt

Force 120 Hp 1998 Power Trim Components Parts

Force 120 Hp 1999 Towershaft U0026 Throttle Linkage Parts

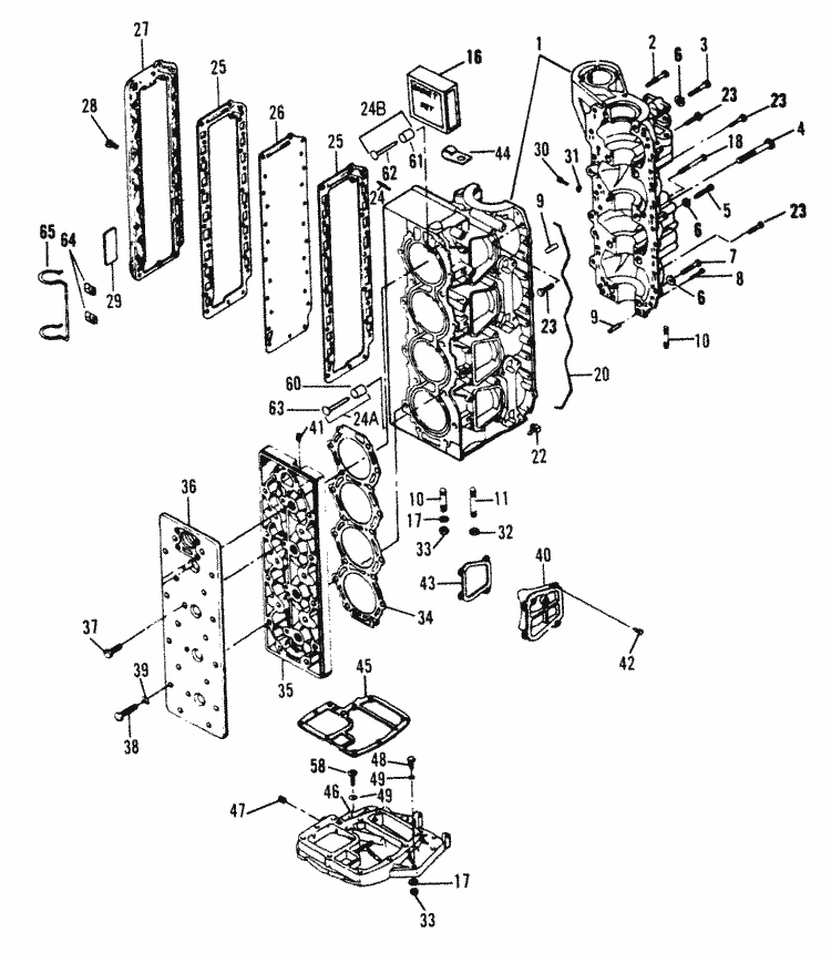
Force 120 Hp 1999 Driveshaft Housing Parts

Force 120 Hp 1992 L

Force 120 Hp 1990 L

Honda Engines Gx120k1 Qmx2 Engine Jpn Vin Gc01

Honda Engines Gx120u1 Krf4 Engine Jpn Vin Gcahk

Toro Professional 30612 Groundsmaster 120 1999 Sn

Toro 30610 Proline 120 1993 Sn 390001

Force 120 Hp 1999 Starter Assembly Parts

Force 120 Hp 1998 Recirculation System Parts

75 Hp Chrysler Outboard Motor

Omc Stern Drive Cooling System Group Parts For 1968 120hp

Tecumseh Lev120

1990 Force 120 No Spark After Just Having Been Running

Tecumseh Lev120

Johnson Outboard Parts By Hp 120hp Oem Parts Diagram For

Force 120 Hp 1998 Gear Housing Assembly Propshaft Parts

Honda Engines Gx120u1 Hx2 Engine Jpn Vin Gcahk

Force 120 Hp 1990

Toro Professional 30610 Groundsmaster 120 1996 Sn

Force 120 Hp 1990

1996 Freightliner Fld 120 With A Caterpillar 3406e

Johnson Ignition System Parts For 1994 120hp J120tlarc

Evinrude Cylinder U0026 Crankcase Parts For 1994 120hp

Force 120 Hp 1990 L

Install Electronic Ignition Kit In A Mercruiser 120 Engine

Force 120 Hp 1990 L

Toro 61

Honda Engines Gx120rt2 Ar Engine Tha Vin Gcbmt

Ariens 08201021

I Need A Wiring Diagram For A 1993 Johnson 115 The Engine

Omc Sterndrive Parts 120hp Oem Parts Diagram For Engine

Honda Engines Gx120k1 Qmx2 Engine Jpn Vin Gc01

Diagram Force 120 Engine Diagram

  • Download Force 120 Engine Diagram

    draw.io is free online diagram software for making flowcharts, process diagrams, org charts, UML, ER and network diagrams

    Open and edit diagrams online with Draw.io, a free diagram software supporting various formats and diagram types.

    Create a new diagram, or open an existing diagram in your new tab. To create a new diagram, enter a Diagram Name and click the location where you want to save the file.

    Create flowcharts and diagrams online with this easy to use software.

    Create and edit diagrams with draw.io, a free diagramming tool that integrates seamlessly with Office 365.

    Easily import diagrams from Lucidchart to diagrams.net or draw.io with this simple tool.

    Access and integrate Google Drive files with Draw.io using the Google Picker tool for seamless diagram creation.

    Clearing Cached version 29.3.2... OK Update Start App

    confEmbedUpload=For a better editing experience, please use the regular draw.io macro to insert a blank diagram, then from (File menu → Import From → Device...) select the file you want to upload and embed.

    Editing the diagram from page view may cause data loss. Please edit the Confluence page first and then edit the diagram. confConfigSpacePerm=Note: If you recently migrated from DC app, please check draw.io Configuration space permissions such that all users can read and only admins can write.

    3 way switch,3 way switch wiring,3 way switch wiring diagram pdf,3 way wiring diagram,3way switch wiring diagram,4 prong dryer outlet wiring diagram,4 prong trailer wiring diagram,6 way trailer wiring diagram,7 pin trailer wiring diagram with brakes,7 pin wiring diagram,alternator wiring diagram,amp wiring diagram,automotive lighting,cable harness,chevrolet,diagram,dodge,doorbell wiring diagram,ecobee wiring diagram,electric motor,electrical connector,electrical wiring,electrical wiring diagram,ford,fuse,honeywell thermostat wiring diagram,ignition system,kenwood car stereo wiring diagram,light switch wiring diagram,lighting,motor wiring diagram,nest doorbell wiring diagram,nest hello wiring diagram,nest labs,nest thermostat,nest thermostat wiring diagram,phone connector,pin,pioneer wiring diagram,plug wiring diagram,pump,radio,radio wiring diagram,relay,relay wiring diagram,resistor,rj45 wiring diagram,schematic,semi-trailer truck,sensor,seven pin trailer wiring diagram,speaker wiring diagram,starter wiring diagram,stereo wiring diagram,stereophonic sound,strat wiring diagram,switch,switch wiring diagram,telecaster wiring diagram,thermostat wiring,thermostat wiring diagram,trailer brake controller,trailer plug wiring diagram,trailer wiring diagram,user guide,wire,wire diagram,wiring diagram,wiring diagram 3 way switch,wiring harness

    close