Eagle Tailgate Lift Wiring Diagram

Eagle Tailgate Lift Wiring Diagram

  • Category : Wiring Diagram
  • Post Date : January 22, 2026
Eagle Tailgate Lift Wiring Diagram 9 out of 10 based on 100 ratings. 10 user reviews.

Eagle Tailgate Lift Wiring Diagram

Can U0026 39 T Close Tailgate With Interior Trunk Switch

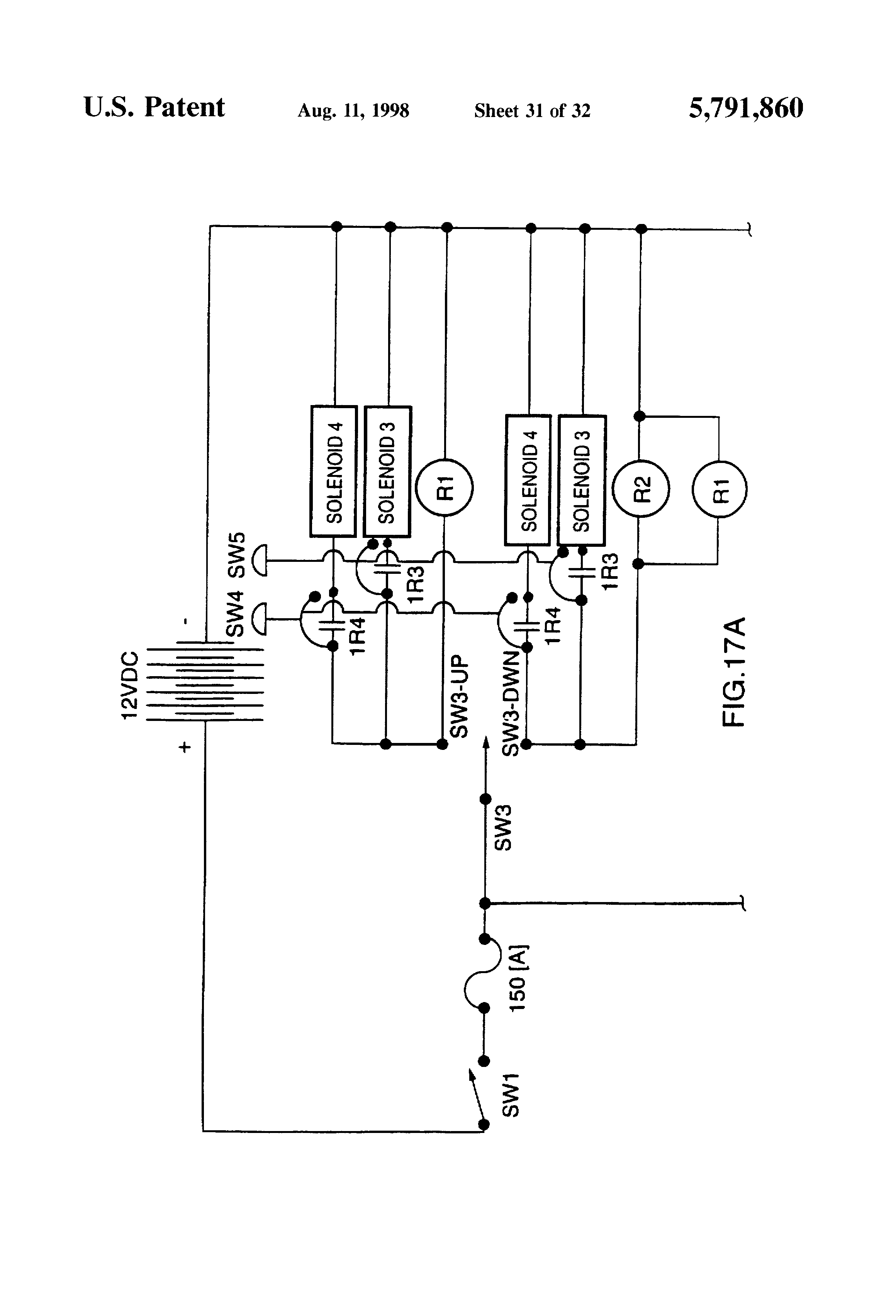
Patent Us5791860

Liftgate Diagrams - Thieman Tailgate Pump Parts

Waltco Liftgate Wiring Diagram Unique

Tailgate Window Lift Key Switch Bypass

Patent Us5791860

Maxon Liftgate Switch And Coil Cord For Tuck Under

Liftgate Diagrams - Thieman Tailgate Pump Parts

Tommy Lift Gate Parts

Patent Us5791860

Tailgate Window Lift Key Switch Bypass - Page 3

Patent Us5791860

Tommy Lift Gate Parts

Liftgate Diagrams - Thieman Tailgate Pump Parts

Thieman Tailgate Diagrams 16 20 Pump Assembly

1996 Ford Bronco Pictures Picture

When I Lock Unlock My Car With The Key Fob All Four Doors

Patent Us5791860

Liftgate Diagrams - Thieman Tailgate Pump Parts

Thieman Tailgate Diagrams 16 20 Pump Assembly

K5 Tailgate Window Wiring U0026 Intrernals - Page 2

24v Dc Hydraulic Power Unit For Tailgate Car Lift

Liftgate Will Not Electrically Open Or Close

Tailgate Window Handle Troubleshooting

K5 Tailgate Window Wiring U0026 Intrernals - Page 2

2002 Gmc Envoy Liftgate Parts Diagram Parts Auto Wiring

The Mower Shop Inc

2008 Tailgate On A 2005 Can I Make The Camera Work

Tommy Lift Gate Parts

Need Wire Diagram For 91 And 93

2009 Jeep Grand Cherokee Lift Gate Latch Diagram Jeep

Gmc Gm Oem Envoy Xuv Tail Gate Tailgate Hatch

2000 Jeep Cherokee Wiring Diagram

Ford Tailgate Parts Diagram U2014 Untpikapps

Toyota Alphard Vellfire Powerboot Auto Tailgate Electric

Tailgate Will Close But Not Latch If I Press The Tailgate

The Handbook To Replace Your Maxon Power Unit

Eagle Lift Gate Wiring Diagram

Ford Bronco Tailgate Window Problem

Thieman Tailgates

Tailgate Will Close But Not Latch If I Press The Tailgate

Another Tailgate Switch Question

White Rodgers 630

Your Guide To Maxon Liftgate Parts And New Gates U2013 Liftgateme

Ford Tailgate Parts Diagram U2014 Untpikapps

Tailgate Lift Glass Button - Chevrolet Forum

83 Or 96

Wiring For Powerfold Deck Lift Model 3452 3461 Decks

Ford Door Ajar Switch Diagram

Your Guide To Maxon Liftgate Parts And New Gates U2013 Liftgateme

Tgs01b Saltdogg Tailgate Spreader Parts Diagrams

Bruno Wheelchair Lift Model Asl

Tailgate Key Switch

Model 725dt6 2011 Grasshopper Mower Parts Diagrams

Dodge Chrysler Oem 84

721 G2 Year 2002 Grasshopper Mowers

Tailgate Window Slow - 80-96 Ford Bronco

Diagram Eagle Tailgate Lift Wiring Diagram

  • Download Eagle Tailgate Lift Wiring Diagram

    draw.io is free online diagram software for making flowcharts, process diagrams, org charts, UML, ER and network diagrams

    Open and edit diagrams online with Draw.io, a free diagram software supporting various formats and diagram types.

    Create a new diagram, or open an existing diagram in your new tab. To create a new diagram, enter a Diagram Name and click the location where you want to save the file.

    Create flowcharts and diagrams online with this easy to use software.

    Create and edit diagrams with draw.io, a free diagramming tool that integrates seamlessly with Office 365.

    Easily import diagrams from Lucidchart to diagrams.net or draw.io with this simple tool.

    Access and integrate Google Drive files with Draw.io using the Google Picker tool for seamless diagram creation.

    Clearing Cached version 29.3.2... OK Update Start App

    confEmbedUpload=For a better editing experience, please use the regular draw.io macro to insert a blank diagram, then from (File menu → Import From → Device...) select the file you want to upload and embed.

    Editing the diagram from page view may cause data loss. Please edit the Confluence page first and then edit the diagram. confConfigSpacePerm=Note: If you recently migrated from DC app, please check draw.io Configuration space permissions such that all users can read and only admins can write.

    3 way switch,3 way switch wiring,3 way switch wiring diagram pdf,3 way wiring diagram,3way switch wiring diagram,4 prong dryer outlet wiring diagram,4 prong trailer wiring diagram,6 way trailer wiring diagram,7 pin trailer wiring diagram with brakes,7 pin wiring diagram,alternator wiring diagram,amp wiring diagram,automotive lighting,cable harness,chevrolet,diagram,dodge,doorbell wiring diagram,ecobee wiring diagram,electric motor,electrical connector,electrical wiring,electrical wiring diagram,ford,fuse,honeywell thermostat wiring diagram,ignition system,kenwood car stereo wiring diagram,light switch wiring diagram,lighting,motor wiring diagram,nest doorbell wiring diagram,nest hello wiring diagram,nest labs,nest thermostat,nest thermostat wiring diagram,phone connector,pin,pioneer wiring diagram,plug wiring diagram,pump,radio,radio wiring diagram,relay,relay wiring diagram,resistor,rj45 wiring diagram,schematic,semi-trailer truck,sensor,seven pin trailer wiring diagram,speaker wiring diagram,starter wiring diagram,stereo wiring diagram,stereophonic sound,strat wiring diagram,switch,switch wiring diagram,telecaster wiring diagram,thermostat wiring,thermostat wiring diagram,trailer brake controller,trailer plug wiring diagram,trailer wiring diagram,user guide,wire,wire diagram,wiring diagram,wiring diagram 3 way switch,wiring harness

    close