Camry Intake Diagram

Camry Intake Diagram

  • Category : Intake Diagram
  • Post Date : January 22, 2026
Camry Intake Diagram 9 out of 10 based on 30 ratings. 40 user reviews.

Camry Intake Diagram

Stock Air Intake Diagram

4884495af

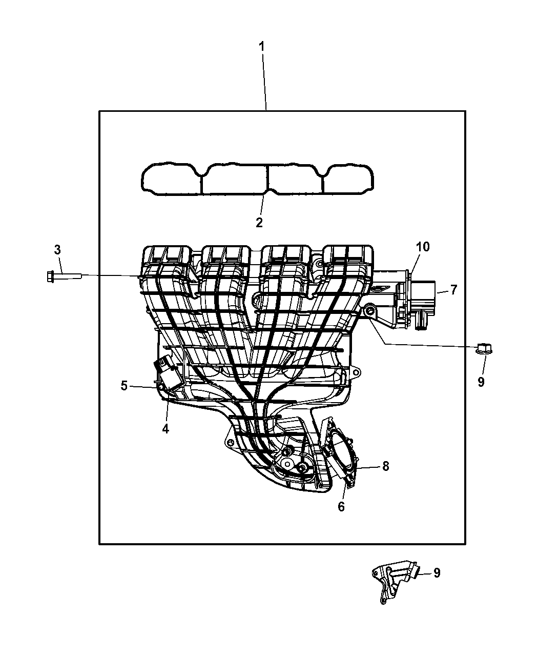
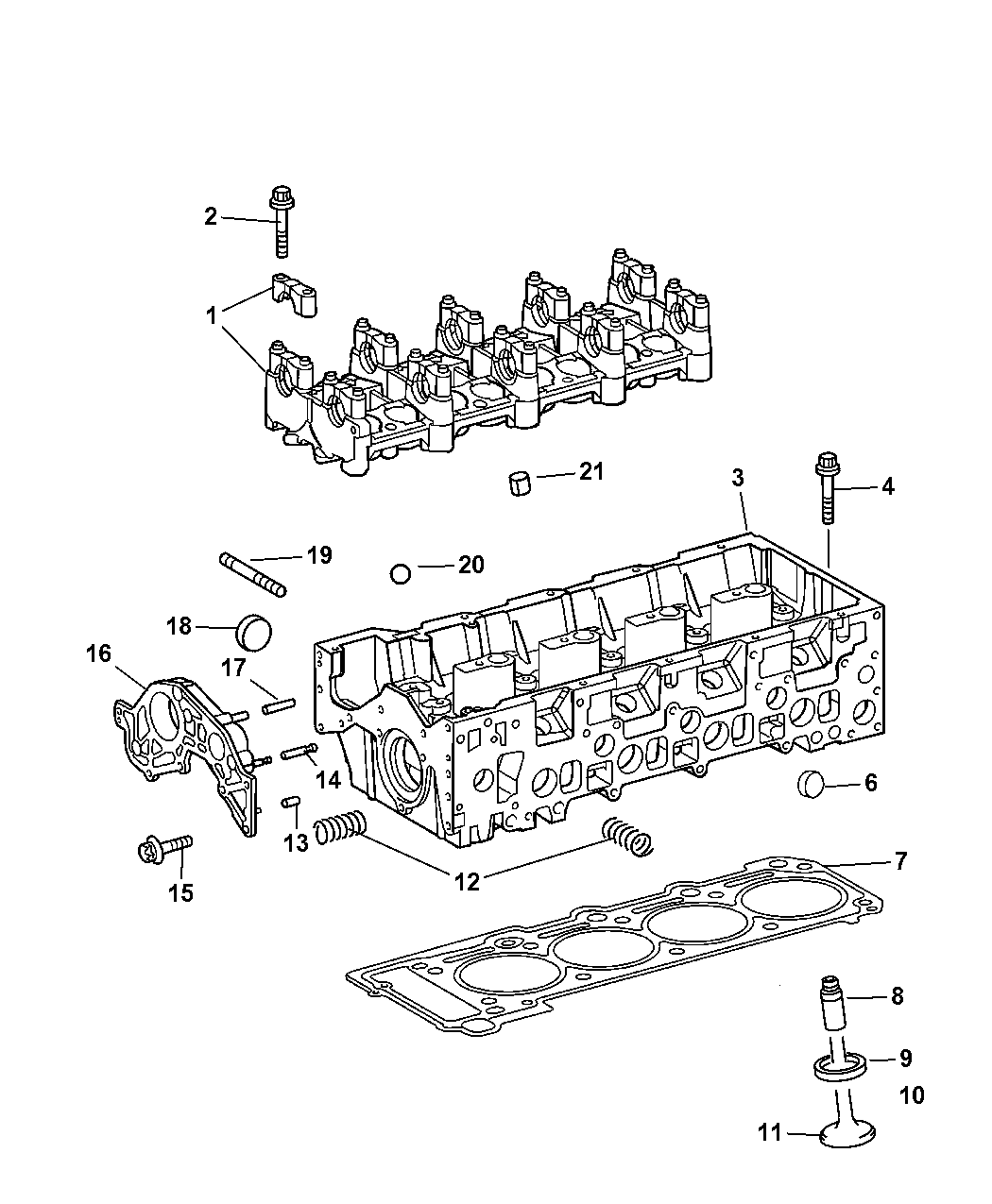
Intake Manifold

All About Throttle Body Spacers

Bmw E46 3

Robin Subaru Rgx3600 Parts Diagram For Intake Exhaust

3vz Intake Manifold Hoses And Upper Injection Diagrams

The Mazda Rx

4591863am

Polaris Atv 2013 Oem Parts Diagram For Engine Air Intake

3vz Intake Manifold Hoses And Upper Injection Diagrams

F22b Not B1 Not B2 Intake Manifold Help Please

17113541

Polaris Side By Side 2014 Oem Parts Diagram For Engine

5 0 Intake Torque Sequence - Ford F150 Forum

5080044ab Exhaust Valve

04591961ab

Euro Intake Manifold Modification Writeup European F20b

How To Get The Most Horsepower Out Of Your Car

Johnson 1992 140 - Vj140tlens Intake Manifold

Performance Benefits Of Phenolic Intake Gaskets

Installing Test Pipes

12563914

Manifold Parts Morgan 4 Plus Four

Intake Manifold Diagram

14001aa950

Engine Scheme Intake Manifold Pressure And Temperature

Air Intake Duct And Throttle Body Parts Diagram Car Pictures

Banks Ram-air Intake

Airaid Synthamax Universal Cone Air Filters

Intake Manifold Polishing Condition Question

14035aa620

Schematics And Diagrams How To Replace Intake Manifold On

Husqvarna 324 Ldx 2009

D16y8 Intake Manifold Tiny Vacuum Port

Fourtitude Com

Series 60 Marine Engine Air Intake System Schematic

Kx450 Intake Valves On Kfx450

1969 Corvette Tri Power Carburetor Parts

Intake Valve Closing Point Critical For Maximizing

Cold Air Intake Installation Question - Page 4

Rb25 Water Flow Diagram U0026 Greddy Intake Manifold

2013 Brz Exposed

The Air Intake System How It Works

Ford Oem

Diagram Camry Intake Diagram

  • Download Camry Intake Diagram

    draw.io is free online diagram software for making flowcharts, process diagrams, org charts, UML, ER and network diagrams

    Open and edit diagrams online with Draw.io, a free diagram software supporting various formats and diagram types.

    Create a new diagram, or open an existing diagram in your new tab. To create a new diagram, enter a Diagram Name and click the location where you want to save the file.

    Create flowcharts and diagrams online with this easy to use software.

    Create and edit diagrams with draw.io, a free diagramming tool that integrates seamlessly with Office 365.

    Easily import diagrams from Lucidchart to diagrams.net or draw.io with this simple tool.

    Access and integrate Google Drive files with Draw.io using the Google Picker tool for seamless diagram creation.

    Clearing Cached version 29.3.2... OK Update Start App

    confEmbedUpload=For a better editing experience, please use the regular draw.io macro to insert a blank diagram, then from (File menu → Import From → Device...) select the file you want to upload and embed.

    Editing the diagram from page view may cause data loss. Please edit the Confluence page first and then edit the diagram. confConfigSpacePerm=Note: If you recently migrated from DC app, please check draw.io Configuration space permissions such that all users can read and only admins can write.

    3 way switch,3 way switch wiring,3 way switch wiring diagram pdf,3 way wiring diagram,3way switch wiring diagram,4 prong dryer outlet wiring diagram,4 prong trailer wiring diagram,6 way trailer wiring diagram,7 pin trailer wiring diagram with brakes,7 pin wiring diagram,alternator wiring diagram,amp wiring diagram,automotive lighting,cable harness,chevrolet,diagram,dodge,doorbell wiring diagram,ecobee wiring diagram,electric motor,electrical connector,electrical wiring,electrical wiring diagram,ford,fuse,honeywell thermostat wiring diagram,ignition system,kenwood car stereo wiring diagram,light switch wiring diagram,lighting,motor wiring diagram,nest doorbell wiring diagram,nest hello wiring diagram,nest labs,nest thermostat,nest thermostat wiring diagram,phone connector,pin,pioneer wiring diagram,plug wiring diagram,pump,radio,radio wiring diagram,relay,relay wiring diagram,resistor,rj45 wiring diagram,schematic,semi-trailer truck,sensor,seven pin trailer wiring diagram,speaker wiring diagram,starter wiring diagram,stereo wiring diagram,stereophonic sound,strat wiring diagram,switch,switch wiring diagram,telecaster wiring diagram,thermostat wiring,thermostat wiring diagram,trailer brake controller,trailer plug wiring diagram,trailer wiring diagram,user guide,wire,wire diagram,wiring diagram,wiring diagram 3 way switch,wiring harness

    close