Belajar Wiring Diagram Listrik

Belajar Wiring Diagram Listrik

  • Category : Diagram Listrik
  • Post Date : January 22, 2026
Belajar Wiring Diagram Listrik 9 out of 10 based on 30 ratings. 60 user reviews.

Belajar Wiring Diagram Listrik

Understanding Diagram Listrik Electrical Schema

Wering Diagram Panel Listrik

Listrik Wiring Diagram

Diagram Kawat Wiring Diagram

L1 Pengantar Gambar Listrik

Wiring Diagram Motor Listrik 3phase Dengan 2 Arah Putaran

Aplikasi Wiring Diagram Listrik Gambar Wiring Diagram

Blog Teknik U0026 Vokasi Aplikasi Kontrol Motor Listrik

Gambar Wiring Diagram Listrik Inspiration Gambar Wiring

Etnik Sugitama Engineering Gambar Diagram Rangkaian

Pembuatan Wiring Diagram Panel Listrik

Diagram Wiring Diagram Mobil Listrik Full Version Hd

Wearing Diagram Kelistrikan Avanza Lengkap

Blog Teknik U0026 Vokasi Aplikasi Kontrol Motor Listrik

Wiring Diagram Instalasi Listrik Rumah Efcaviation

Etnik Sugitama Engineering Wiring Diagram Kontrol Pompa

Ilmu Listrik

Cara Membaca Wiring Control Diagram Untuk Starter Motor

Diagram Wiring Diagram Mobil Listrik Full Version Hd

Cara Membuat Wiring Diagram Listrik Apktodownload Com

Gambar Wiring Diagram Listrik Inspiration Gambar Wiring

Diagram Kawat Wiring Diagram

Cara Membuat Wiring Diagram Listrik Apktodownload Com

Wiring Diagram Pada Umumnya

Wiring Diagram Instalasi Listrik Rumah Efcaviation

Wiring Diagram Stardelta

Diagram Wiring Diagram Mobil Listrik Full Version Hd

Wiring Diagram Penerangan

2 Jenis Jenis Panel Listrik

Konsuil Suluttenggo Wiring Diagram Kwh

Instalasi Listrik 3 Phase Untuk Pemula

Diagram Listrik Honda Tiger 2000

Wiring Diagram Motor Listrik 3phase Dengan 2 Arah Putaran

Wiring Diagram Simbol Elektro

Gambar Kerja Wiring Diagram Instalasi Listrik File Dwg

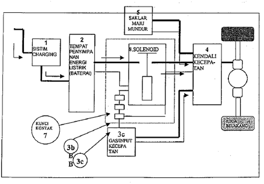
Monitoring Charging Station Mobil Listrik

Diagram Wiring Diagram Mobil Listrik Full Version Hd

Cara Membuat Wiring Diagram Listrik Apktodownload Com

Digital Temperature Controller Heater Control

Fumida Elektrik U00bb Instalasi Listrik 3 Phase

Contoh Database Tagihan Listrik

Cara Membuat Wiring Diagram Instalasi Listrik

Wiring Diagram Instalasi Listrik Rumah Efcaviation

Pembuatan Wiring Diagram Panel Listrik

Wiring Diagram Motor Listrik 3 Fasa

Wiring Diagram Instalasi Listrik Rumah Efcaviation

Diagram Belajar Wiring Diagram Listrik

  • Download Belajar Wiring Diagram Listrik

    draw.io is free online diagram software for making flowcharts, process diagrams, org charts, UML, ER and network diagrams

    Open and edit diagrams online with Draw.io, a free diagram software supporting various formats and diagram types.

    Create a new diagram, or open an existing diagram in your new tab. To create a new diagram, enter a Diagram Name and click the location where you want to save the file.

    Create flowcharts and diagrams online with this easy to use software.

    Create and edit diagrams with draw.io, a free diagramming tool that integrates seamlessly with Office 365.

    Easily import diagrams from Lucidchart to diagrams.net or draw.io with this simple tool.

    Access and integrate Google Drive files with Draw.io using the Google Picker tool for seamless diagram creation.

    Clearing Cached version 29.3.2... OK Update Start App

    confEmbedUpload=For a better editing experience, please use the regular draw.io macro to insert a blank diagram, then from (File menu → Import From → Device...) select the file you want to upload and embed.

    Editing the diagram from page view may cause data loss. Please edit the Confluence page first and then edit the diagram. confConfigSpacePerm=Note: If you recently migrated from DC app, please check draw.io Configuration space permissions such that all users can read and only admins can write.

    3 way switch,3 way switch wiring,3 way switch wiring diagram pdf,3 way wiring diagram,3way switch wiring diagram,4 prong dryer outlet wiring diagram,4 prong trailer wiring diagram,6 way trailer wiring diagram,7 pin trailer wiring diagram with brakes,7 pin wiring diagram,alternator wiring diagram,amp wiring diagram,automotive lighting,cable harness,chevrolet,diagram,dodge,doorbell wiring diagram,ecobee wiring diagram,electric motor,electrical connector,electrical wiring,electrical wiring diagram,ford,fuse,honeywell thermostat wiring diagram,ignition system,kenwood car stereo wiring diagram,light switch wiring diagram,lighting,motor wiring diagram,nest doorbell wiring diagram,nest hello wiring diagram,nest labs,nest thermostat,nest thermostat wiring diagram,phone connector,pin,pioneer wiring diagram,plug wiring diagram,pump,radio,radio wiring diagram,relay,relay wiring diagram,resistor,rj45 wiring diagram,schematic,semi-trailer truck,sensor,seven pin trailer wiring diagram,speaker wiring diagram,starter wiring diagram,stereo wiring diagram,stereophonic sound,strat wiring diagram,switch,switch wiring diagram,telecaster wiring diagram,thermostat wiring,thermostat wiring diagram,trailer brake controller,trailer plug wiring diagram,trailer wiring diagram,user guide,wire,wire diagram,wiring diagram,wiring diagram 3 way switch,wiring harness

    close