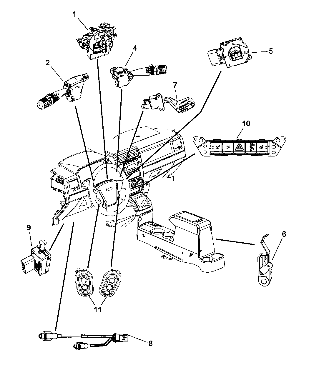
Apple Homepod Diagram

Apple Homepod Diagram

  • Category : Homepod Diagram
  • Post Date : January 22, 2026
Apple Homepod Diagram 9 out of 10 based on 60 ratings. 20 user reviews.

Apple Homepod Diagram

How Does The Patient

Optimizing Siri On Homepod In Far U2011field Settings

An Apple Patent Describes An Elaborate Future Homepod

Apple Engineers Invented A New Way To Make Spacer Fabrics

Chart Apple Homepod Smart Speaker With Hi

Future Apple Homepod Could Customize Audio Experience To

Apple U0026 39 S Over

The U S Patent Office Publishes Six Homepod And Future

The U S Patent Office Publishes Six Homepod And Future

The U S Patent Office Publishes Six Homepod And Future

Apple Granted 3 Key Audio Patents Today Covering Homepod

The U S Patent Office Publishes Six Homepod And Future

Iphone 6 Renderings Based On Leaked Schematics Highlight

Kubernetes Networking Under The Hood

How Things Work Stereo Surround Sound From A Single

Apple Granted Audio Patents For Homepod Adaption To A Room

How Does The Patient

Apple Homepod Review Now With Stereo And Multi

Virtualization The Future Vmware Vcloud Management Pod

8 Openshift Deployment And Configuration U2014 Ansible Tower

Home Electric Car Chargepoints

Apple Invents A New Cooling System For Homepod To Improve

Smart Pod

Architecture-diagram-1024x569

Parts Is Parts Exploded Iphone T

Virtualization The Future Vmware Horizon View Cloud Pod

Here U0026 39 S How Amazon U0026 39 S And Apple U0026 39 S New Smart Speakers Stack

St Gauge Pod In Se Ecoboost

Apple Granted Audio Patents For Homepod Adaption To A Room

Can The Apple Homepod Compete With The Amazon Echo And

Apple Invents An Earpods Magnetic System That Will Keep

Figure 1 Radio Repeater Set Pod An Arq

Folding Iphone Another Apple Patent Granted

Led Pod Light Relay Wiring Diagram U2013 Offroaders Com

Nest Wiring Diagram

How Things Work Stereo Surround Sound From A Single

Teardown Of U0026 39 New U0026 39 Ipod Touch Reveals Few Changes If Any

1000 Images About Recording Studio On Pinterest

Apple Researching Integrated Speaker For Ipod Nano And

Futuristic Rooftop Living Room In A Compact Prefab Capsule

Boulder Rock Vape Pen 1ct 12 In A Box

Pogue U0026 39 S Apple Homepod Listening Test Draws Criticism

Qualcomm U0e40 U0e1b U0e34 U0e14 U0e15 U0e31 U0e27 U0e0a U0e34 U0e1b U0e40 U0e0b U0e47 U0e17 U0e43 U0e2b U0e21 U0e48 Snapdragon 653 626 U0e41 U0e25 U0e30 427

Virtualization The Future Vmware Horizon View Cloud Pod

Pod 1 19 10 Sorting Shapes

Cabinet Locks Cable Pod

Amplifier Repair Bash Amplifier Repair

Diagram Of Next Iphone U0026 39 S Internals Puts Leaked Parts In

Google U0026 39 S 399 Home Max Smart Speaker Focuses On Audio Quality

Apple Homepod Skins

Pod Diagram

Airpods 2 Teardown H1 Chip With Bluetooth 5 0 Same

Passive Cooling Diagram

Futuristic Rooftop Living Room In A Compact Prefab Capsule

4602706ad

Google Home Max Uff1a U66f4 U597d U7684 U97f3 U8cea U548c U66f4 U5927 U7684 U97f3 U91cf

M

Diagram Apple Homepod Diagram

  • Download Apple Homepod Diagram

    draw.io is free online diagram software for making flowcharts, process diagrams, org charts, UML, ER and network diagrams

    Open and edit diagrams online with Draw.io, a free diagram software supporting various formats and diagram types.

    Create a new diagram, or open an existing diagram in your new tab. To create a new diagram, enter a Diagram Name and click the location where you want to save the file.

    Create flowcharts and diagrams online with this easy to use software.

    Create and edit diagrams with draw.io, a free diagramming tool that integrates seamlessly with Office 365.

    Easily import diagrams from Lucidchart to diagrams.net or draw.io with this simple tool.

    Access and integrate Google Drive files with Draw.io using the Google Picker tool for seamless diagram creation.

    Clearing Cached version 29.3.2... OK Update Start App

    confEmbedUpload=For a better editing experience, please use the regular draw.io macro to insert a blank diagram, then from (File menu → Import From → Device...) select the file you want to upload and embed.

    Editing the diagram from page view may cause data loss. Please edit the Confluence page first and then edit the diagram. confConfigSpacePerm=Note: If you recently migrated from DC app, please check draw.io Configuration space permissions such that all users can read and only admins can write.

    3 way switch,3 way switch wiring,3 way switch wiring diagram pdf,3 way wiring diagram,3way switch wiring diagram,4 prong dryer outlet wiring diagram,4 prong trailer wiring diagram,6 way trailer wiring diagram,7 pin trailer wiring diagram with brakes,7 pin wiring diagram,alternator wiring diagram,amp wiring diagram,automotive lighting,cable harness,chevrolet,diagram,dodge,doorbell wiring diagram,ecobee wiring diagram,electric motor,electrical connector,electrical wiring,electrical wiring diagram,ford,fuse,honeywell thermostat wiring diagram,ignition system,kenwood car stereo wiring diagram,light switch wiring diagram,lighting,motor wiring diagram,nest doorbell wiring diagram,nest hello wiring diagram,nest labs,nest thermostat,nest thermostat wiring diagram,phone connector,pin,pioneer wiring diagram,plug wiring diagram,pump,radio,radio wiring diagram,relay,relay wiring diagram,resistor,rj45 wiring diagram,schematic,semi-trailer truck,sensor,seven pin trailer wiring diagram,speaker wiring diagram,starter wiring diagram,stereo wiring diagram,stereophonic sound,strat wiring diagram,switch,switch wiring diagram,telecaster wiring diagram,thermostat wiring,thermostat wiring diagram,trailer brake controller,trailer plug wiring diagram,trailer wiring diagram,user guide,wire,wire diagram,wiring diagram,wiring diagram 3 way switch,wiring harness

    close