Ac Unit Diagram And Parts

Ac Unit Diagram And Parts

  • Category : And Parts
  • Post Date : January 22, 2026
Ac Unit Diagram And Parts 9 out of 10 based on 30 ratings. 100 user reviews.

Ac Unit Diagram And Parts

Icp Ac Unit Parts

Unit Parts Diagram U0026 Parts List For Model Hth16bbxyrww

Unit Parts Diagram U0026 Parts List For Model Et8chmxkq06

Base And Pedestal Unit Diagram U0026 Parts List For Model

Goodman Central Air Condensing Unit Parts

Johnson 1968 33 - Rxel-16r Lower Unit Group

Outdoor Unit Diagram And Parts List For Mitsubishi

Outdoor Unit Diagram And Parts List For Mitsubishi

Icp Model N4h342ake100 Air Heat Pump Outside

Tohatsu 2009 Mfs8a3

Outdoor Unit Diagram U0026 Parts List For Model La180cp Lg

1984 Yamaha Lower Drive 1 Parts For 15 Hp 15eln Outboard Motor

Poulan 2350 Gas Saw Parts Diagram For Internal Power Unit

Carrier A C Unit Parts

Briggs And Stratton Power Products 9777-2

York Heating And Cooling Unit Parts

Condensing Unit Diagram U0026 Parts List For Model Hac448aka1

Outdoor Unit Diagram U0026 Parts List For Model Hmh024kd1 Icp

Lg A

1986 Yamaha Lower Drive 1 Parts For 2 Hp 2sj Outboard Motor

Kenmore Central Air Conditioners Parts

Manitowoc Cvd1875 Condensing Unit Parts Diagram

Carrier A C Unit Parts

Goodman Package Heat Pump Parts

Ultimate Base Unit Parts Diagram

Evinrude Outboard Parts By Hp 6hp Oem Parts Diagram For

Johnson Lower Unit Group Parts For 1957 35hp Rd

York Heating Cooling Unit Parts

Johnson Lower Unit Group Parts For 1962 10hp Qd

Johnson 1968 20 - Fd-22e Lower Unit Group

Mercury Outboard Motor Lower Unit Diagram

Alpha One Mercruiser Parts Diagram

Red Max Tr2300s 05 S N 51000101 U0026 Up Parts Diagram For

Outboard Motor Lower Unit Diagram

How To Divert Water Dripping Outside From Air Conditioner

Mercury Outboard Motor Lower Unit Diagram

Yamaha Outboard Parts By Year 2000 Oem Parts Diagram For

Mercury Outboard Motor Lower Unit Diagram

Johnson Lower Unit Group Parts For 1965 40hp Rk

Mercury Outboard Motor Lower Unit Diagram

File Titanium Office Brew Unit Parts Diagram Pdf

Goodman Condensing Unit Parts

Manitowoc Cvd2075 Condensing Unit Parts Diagram

Kenmore Sears Mobile Home Air Conditioner Parts

Evinrude 2004 250

Unit Parts Diagram U0026 Parts List For Model A3205 Goodman

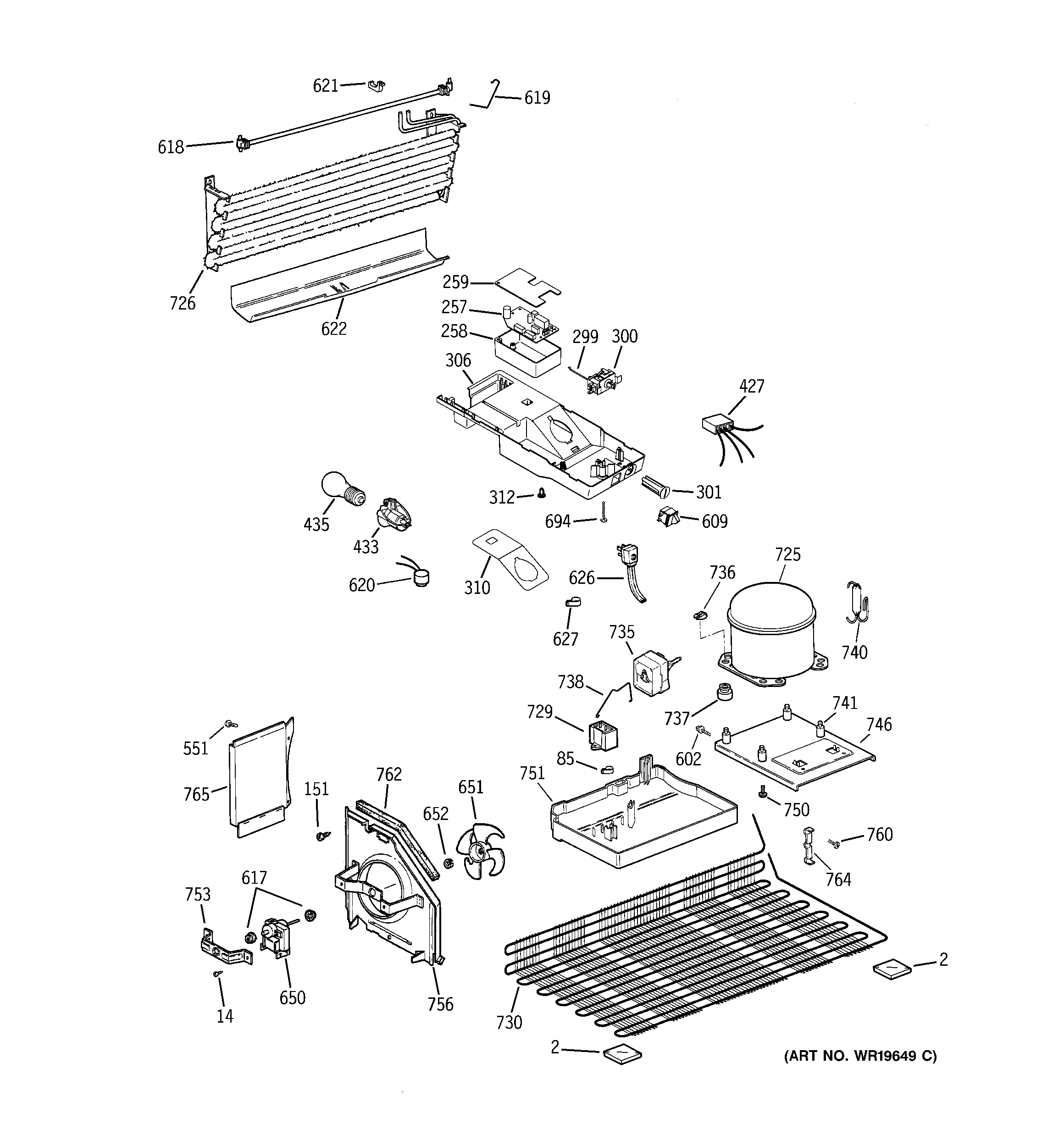
Unit Parts Diagram U0026 Parts List For Model Wrf736sdam12

Red Max Sgcz2460s 10 S N 00100101 U0026 Up Parts Diagram

Johnson Lower Unit Group Parts For 1962 5 5hp Cd

Mercury Lower Unit Diagram

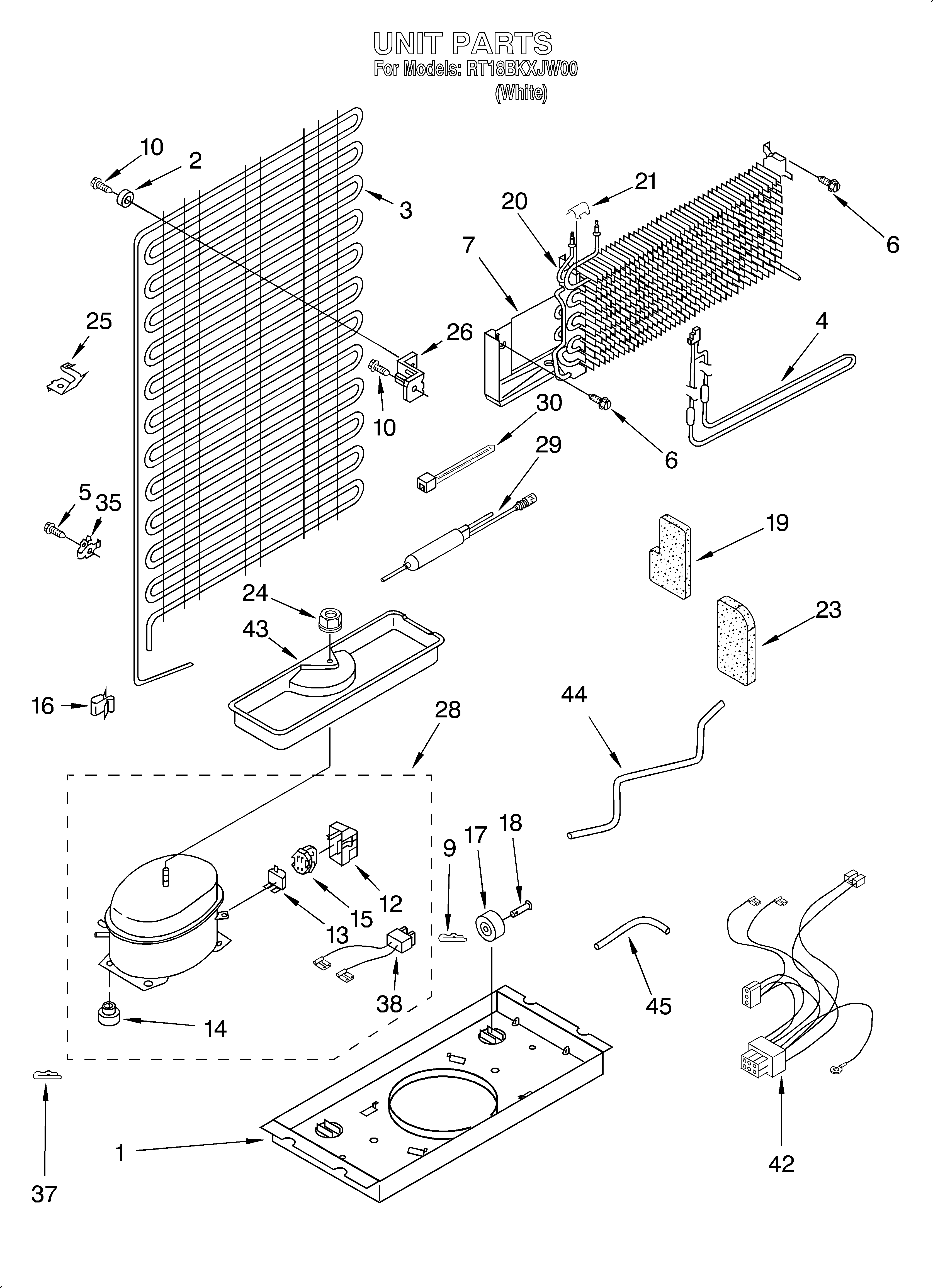
Unit Diagram U0026 Parts List For Model Rt18bkxjw00 Roper

Poulan Pp655bp Gas Saw 655bp Gas Saw Parts Diagram For

Unit Diagram U0026 Parts List For Model Ad50j1 Whirlpool

Air Conditioner Diagram Of Parts

File Titanium Plus Brew Unit Parts Diagram Pdf

Red Max Psz2450s 09 S N 90200101 U0026 Up Parts Diagram For

How The Do I Get The Lower Unit Off Of A 1966 Mercury 200

Diagram Ac Unit Diagram And Parts

  • Download Ac Unit Diagram And Parts

    draw.io is free online diagram software for making flowcharts, process diagrams, org charts, UML, ER and network diagrams

    Open and edit diagrams online with Draw.io, a free diagram software supporting various formats and diagram types.

    Create a new diagram, or open an existing diagram in your new tab. To create a new diagram, enter a Diagram Name and click the location where you want to save the file.

    Create flowcharts and diagrams online with this easy to use software.

    Create and edit diagrams with draw.io, a free diagramming tool that integrates seamlessly with Office 365.

    Easily import diagrams from Lucidchart to diagrams.net or draw.io with this simple tool.

    Access and integrate Google Drive files with Draw.io using the Google Picker tool for seamless diagram creation.

    Clearing Cached version 29.3.2... OK Update Start App

    confEmbedUpload=For a better editing experience, please use the regular draw.io macro to insert a blank diagram, then from (File menu → Import From → Device...) select the file you want to upload and embed.

    Editing the diagram from page view may cause data loss. Please edit the Confluence page first and then edit the diagram. confConfigSpacePerm=Note: If you recently migrated from DC app, please check draw.io Configuration space permissions such that all users can read and only admins can write.

    3 way switch,3 way switch wiring,3 way switch wiring diagram pdf,3 way wiring diagram,3way switch wiring diagram,4 prong dryer outlet wiring diagram,4 prong trailer wiring diagram,6 way trailer wiring diagram,7 pin trailer wiring diagram with brakes,7 pin wiring diagram,alternator wiring diagram,amp wiring diagram,automotive lighting,cable harness,chevrolet,diagram,dodge,doorbell wiring diagram,ecobee wiring diagram,electric motor,electrical connector,electrical wiring,electrical wiring diagram,ford,fuse,honeywell thermostat wiring diagram,ignition system,kenwood car stereo wiring diagram,light switch wiring diagram,lighting,motor wiring diagram,nest doorbell wiring diagram,nest hello wiring diagram,nest labs,nest thermostat,nest thermostat wiring diagram,phone connector,pin,pioneer wiring diagram,plug wiring diagram,pump,radio,radio wiring diagram,relay,relay wiring diagram,resistor,rj45 wiring diagram,schematic,semi-trailer truck,sensor,seven pin trailer wiring diagram,speaker wiring diagram,starter wiring diagram,stereo wiring diagram,stereophonic sound,strat wiring diagram,switch,switch wiring diagram,telecaster wiring diagram,thermostat wiring,thermostat wiring diagram,trailer brake controller,trailer plug wiring diagram,trailer wiring diagram,user guide,wire,wire diagram,wiring diagram,wiring diagram 3 way switch,wiring harness

    close