2010 Nissan Versa Engine Diagram

2010 Nissan Versa Engine Diagram

  • Category : Engine Diagram
  • Post Date : January 22, 2026
2010 Nissan Versa Engine Diagram 9 out of 10 based on 50 ratings. 100 user reviews.

2010 Nissan Versa Engine Diagram

Nissan Versa Engine Diagram My Wiring Diagram

Nissan Versa Engine Diagram My Wiring Diagram

Parts Com U00ae

Nissan Versa Engine Diagram My Wiring Diagram

Nissan Versa Engine Diagram My Wiring Diagram

Parts Com U00ae

Parts Com U00ae

2015 Nissan Versa Note Oem Parts

2011 Nissan Versa Hatchback Oem Parts

2014 Nissan Pathfinder Wiring Diagram

11210-ed800

Nissan Versa Engine Diagram My Wiring Diagram

Parts Com U00ae

2007 Nissan Versa Radio Wiring Diagram

Parts Com U00ae

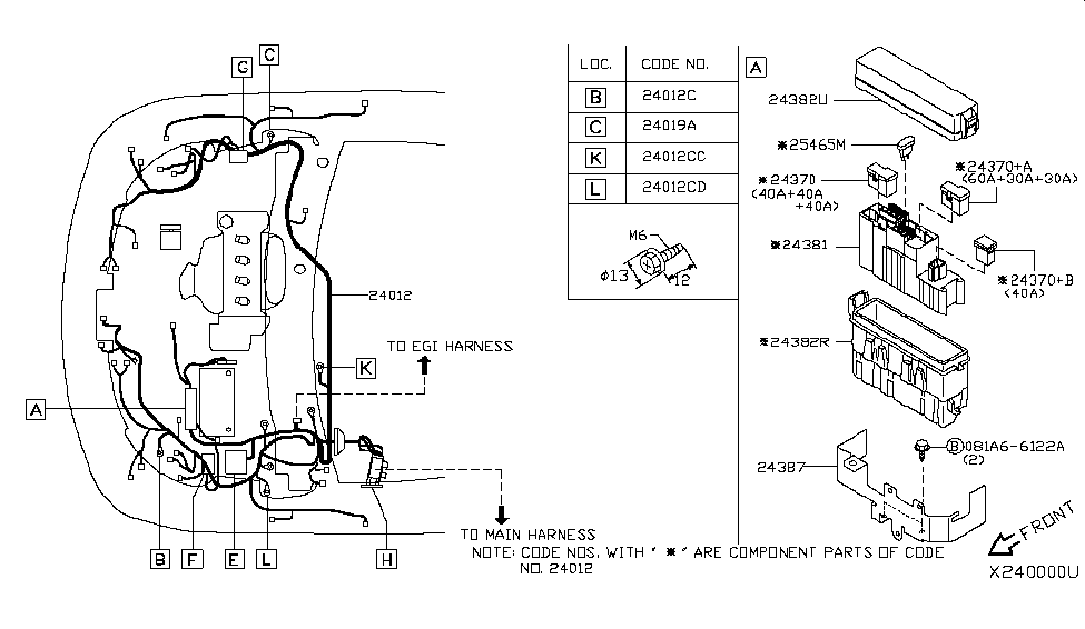
24012

2009 Versa Wiring

Parts Com U00ae

Parts Com U00ae

23731-1kt0a

Nissan B14 Engine Diagram

Parts Com U00ae

20100-em31a

Parts Com U00ae

2011 Nissan Versa Hatchback Oem Parts

2013 Nissan Versa Parts

Nissan Quest Engine Diagram 2009 U2022 Downloaddescargar Com

2014 Nissan Versa Note Oem Parts

2012 Nissan Versa Hatchback Oem Parts

Nissan Versa Hr15de Mr18de Noise Vibration And Harshness

Nissan Versa Engine Diagram My Wiring Diagram

2008 Nissan Versa Hatchback Oem Parts

Exhaust System Exhaust System Exhaust Components

Nissan Versa Engine Diagram My Wiring Diagram

Nissan Versa Engine Diagram My Wiring Diagram

23731

62310

2011 Nissan Versa Timing Marks Diagram 1 6 L Hr16de Engine

2013 Nissan Versa Sedan Oem Parts

27090

Serpentine Belt Diagram Diagram For Serpentine Belt

Parts Com U00ae

11720

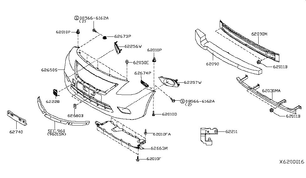
Nissan Versa Engine Diagram

Parts Com U00ae

Nissan Versa Note 2013 - 2018 - Fuse Box Diagram

62093-9kc0a

2009 Nissan Versa Parts

Diagram 2010 Nissan Versa Engine Diagram

  • Download 2010 Nissan Versa Engine Diagram

    draw.io is free online diagram software for making flowcharts, process diagrams, org charts, UML, ER and network diagrams

    Open and edit diagrams online with Draw.io, a free diagram software supporting various formats and diagram types.

    Create a new diagram, or open an existing diagram in your new tab. To create a new diagram, enter a Diagram Name and click the location where you want to save the file.

    Create flowcharts and diagrams online with this easy to use software.

    Create and edit diagrams with draw.io, a free diagramming tool that integrates seamlessly with Office 365.

    Easily import diagrams from Lucidchart to diagrams.net or draw.io with this simple tool.

    Access and integrate Google Drive files with Draw.io using the Google Picker tool for seamless diagram creation.

    Clearing Cached version 29.3.2... OK Update Start App

    confEmbedUpload=For a better editing experience, please use the regular draw.io macro to insert a blank diagram, then from (File menu → Import From → Device...) select the file you want to upload and embed.

    Editing the diagram from page view may cause data loss. Please edit the Confluence page first and then edit the diagram. confConfigSpacePerm=Note: If you recently migrated from DC app, please check draw.io Configuration space permissions such that all users can read and only admins can write.

    3 way switch,3 way switch wiring,3 way switch wiring diagram pdf,3 way wiring diagram,3way switch wiring diagram,4 prong dryer outlet wiring diagram,4 prong trailer wiring diagram,6 way trailer wiring diagram,7 pin trailer wiring diagram with brakes,7 pin wiring diagram,alternator wiring diagram,amp wiring diagram,automotive lighting,cable harness,chevrolet,diagram,dodge,doorbell wiring diagram,ecobee wiring diagram,electric motor,electrical connector,electrical wiring,electrical wiring diagram,ford,fuse,honeywell thermostat wiring diagram,ignition system,kenwood car stereo wiring diagram,light switch wiring diagram,lighting,motor wiring diagram,nest doorbell wiring diagram,nest hello wiring diagram,nest labs,nest thermostat,nest thermostat wiring diagram,phone connector,pin,pioneer wiring diagram,plug wiring diagram,pump,radio,radio wiring diagram,relay,relay wiring diagram,resistor,rj45 wiring diagram,schematic,semi-trailer truck,sensor,seven pin trailer wiring diagram,speaker wiring diagram,starter wiring diagram,stereo wiring diagram,stereophonic sound,strat wiring diagram,switch,switch wiring diagram,telecaster wiring diagram,thermostat wiring,thermostat wiring diagram,trailer brake controller,trailer plug wiring diagram,trailer wiring diagram,user guide,wire,wire diagram,wiring diagram,wiring diagram 3 way switch,wiring harness

    close