2006 Kia Optima Wiring Diagram

2006 Kia Optima Wiring Diagram

  • Category : Wiring Diagram
  • Post Date : January 22, 2026
2006 Kia Optima Wiring Diagram 9 out of 10 based on 90 ratings. 20 user reviews.

2006 Kia Optima Wiring Diagram

Need Wiring Diagram For Fog Lights 2006 5 Kia Optima

Stereo Wiring Diagram For A Kia Optima

Stereo Wiring Diagram For A Kia Optima

Stereo Wiring Diagram For A Kia Optima

I Have A Kia Optima 2005 L4 2 4l With A Problem With One Of The Ign Coils I Check The Pcm And Is

I Have A 2003 Kia Optima 6 Cylinder Both Headlights Are Out I Replaced The Bulbs They Still

Im Working On Kia Optima Vin Knagd126345302592 And I Need A Wiring Diagram For The Transmission

I Have A 2004 Kia Optima And The Battery Isn U0026 39 T Being Charged I Bought A New Battery Because

Im Working On Kia Optima Vin Knagd126345302592 And I Need A Wiring Diagram For The Transmission

2004 Kia Optima 2 4 Code P0350 Sensor Circuit I Checked Both Coils For

Stereo Wiring Diagram For A Kia Optima

Starter Location Kia Optima

Kia Optima 2008

I Replace A Brake Light Switch On A 2005 Kia Optima And Checked The Fuses The Brake Lights And

I Have 2001 Kia Optima 2 4 Liter 4 Cylinder Engine Automatic Transmission I Am Replacing The

Kia Optima Circuit Diagram - Esc 2 - Schematic Diagrams

02 Spectra Wiring Diagram

Kia Car Radio Stereo Audio Wiring Diagram Autoradio Connector Wire Installation Schematic Schema

302 Found

I Have A 2005 Kia Optima V

I Am Trying To Install An Aftermarket Stereo And Need A Wiring Diagram Of The Infinity Stereo System

Valuable 2004 Kia Optima Wiring Diagram Pictures 2001 Kia Optima Fuse Box Diagram 2004 Kia

Kia Car Radio Stereo Audio Wiring Diagram Autoradio Connector Wire Installation Schematic Schema

Kia Car Radio Stereo Audio Wiring Diagram Autoradio Connector Wire Installation Schematic Schema

Do You Have A Wiring Diagram For 2013 Kia Sportage Car Stereo

I Have 04 Kia Optima 2 4l An The Cam Sensor Plug With 3 Wires Was Cut An The Wire Color S Pink

Repair Guides

Kia U2013 Circuit Wiring Diagrams

What Are The Stereo Speakers And Remote Wiring Colors Behind The Stereo For A 2010 Kia Optima

I Need The Wiring Diagram For The Power Supply On A 2004 Kia Optima Instrument Cluster I Need

912004u151

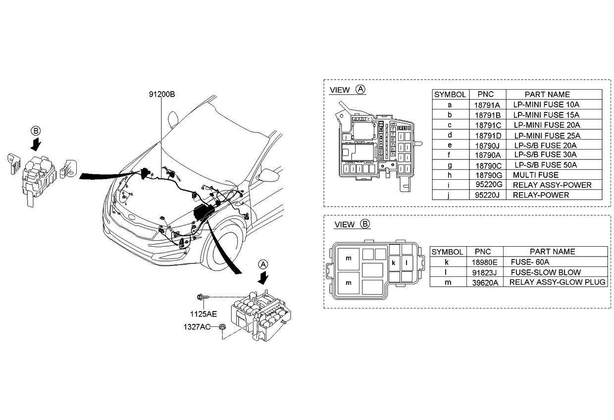
2006 Kia Optima Fuse Box Diagram

Fuse Box 2007 Kia Optima Lx 2 4

Quad

Auto Car Wiring Harness Audio Cable Adapter For Hyundai Nf Santafe Accent Kia Carens Sedona

Kia Starter

2004 Kia Optima Electrical Troubleshooting Manual Original

Repair Guides

Kia Optima Fuse Medi

Kia Optima Parts Diagram 24 Wiring Diagram Images

391602g000

Repair Guides

Need Wiring Diagram For Fog Lights 2006 5 Kia Optima

Kia Optima Ground Location

Kia Optima Fuse Medi

Kia Optima Questions

Repair Guides

Repair Guides

Repair Guides

Kia Optima Parts Diagram 24 Wiring Diagram Images

2004 Kia Optima Wire Diagram

I Am Trying To Install An Aftermarket Stereo And Need A Wiring Diagram Of The Infinity Stereo System

Optima V6 Will Turn Over But Will Not Crank I Don U0026 39 T Have Any Spark What Should Be My

Kia Optima Ground Location

2012 Kia Optima Radio Wiring Diagram

Diagram 2006 Kia Optima Wiring Diagram

  • Download 2006 Kia Optima Wiring Diagram

    draw.io is free online diagram software for making flowcharts, process diagrams, org charts, UML, ER and network diagrams

    Open and edit diagrams online with Draw.io, a free diagram software supporting various formats and diagram types.

    Create a new diagram, or open an existing diagram in your new tab. To create a new diagram, enter a Diagram Name and click the location where you want to save the file.

    Create flowcharts and diagrams online with this easy to use software.

    Easily import diagrams from Lucidchart to diagrams.net or draw.io with this simple tool.

    Create and edit diagrams with draw.io, a free diagramming tool that integrates seamlessly with Office 365.

    Access and integrate Google Drive files with Draw.io using the Google Picker tool for seamless diagram creation.

    Clearing Cached version 29.3.2... OK Update Start App

    7.2 The Software will initiate transfers of data forming part of the Diagrams (“Diagram Data”) to services supplied by third parties when you expressly request conversion of Diagrams: a. to another supported file format; and b. to PDF format.

    Editing the diagram from page view may cause data loss. Please edit the Confluence page first and then edit the diagram. confConfigSpacePerm=Note: If you recently migrated from DC app, please check draw.io Configuration space permissions such that all users can read and only admins can write.

    3 way switch,3 way switch wiring,3 way switch wiring diagram pdf,3 way wiring diagram,3way switch wiring diagram,4 prong dryer outlet wiring diagram,4 prong trailer wiring diagram,6 way trailer wiring diagram,7 pin trailer wiring diagram with brakes,7 pin wiring diagram,alternator wiring diagram,amp wiring diagram,automotive lighting,cable harness,chevrolet,diagram,dodge,doorbell wiring diagram,ecobee wiring diagram,electric motor,electrical connector,electrical wiring,electrical wiring diagram,ford,fuse,honeywell thermostat wiring diagram,ignition system,kenwood car stereo wiring diagram,light switch wiring diagram,lighting,motor wiring diagram,nest doorbell wiring diagram,nest hello wiring diagram,nest labs,nest thermostat,nest thermostat wiring diagram,phone connector,pin,pioneer wiring diagram,plug wiring diagram,pump,radio,radio wiring diagram,relay,relay wiring diagram,resistor,rj45 wiring diagram,schematic,semi-trailer truck,sensor,seven pin trailer wiring diagram,speaker wiring diagram,starter wiring diagram,stereo wiring diagram,stereophonic sound,strat wiring diagram,switch,switch wiring diagram,telecaster wiring diagram,thermostat wiring,thermostat wiring diagram,trailer brake controller,trailer plug wiring diagram,trailer wiring diagram,user guide,wire,wire diagram,wiring diagram,wiring diagram 3 way switch,wiring harness

    close