2001 Infiniti I30 Exhaust Diagram

2001 Infiniti I30 Exhaust Diagram

  • Category : Exhaust Diagram
  • Post Date : January 22, 2026
2001 Infiniti I30 Exhaust Diagram 9 out of 10 based on 40 ratings. 90 user reviews.

2001 Infiniti I30 Exhaust Diagram

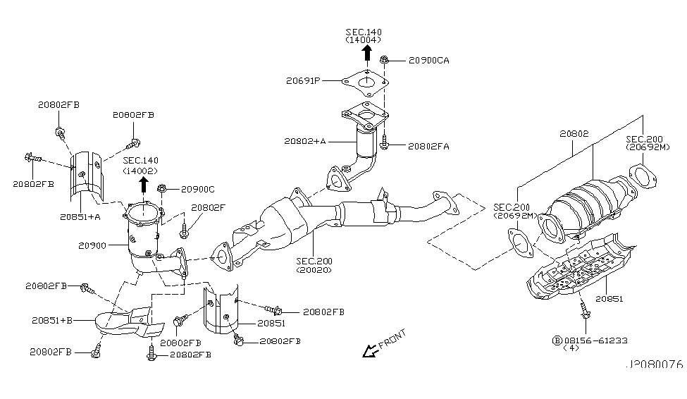
Infiniti I30 Exhaust Diagram From Best Value Auto Parts

Infiniti I30 Exhaust Diagram From Best Value Auto Parts

2000 Infiniti I30 Exhaust Pipe Liter Emissions Service

Parts Com U00ae

Parts Com U00ae

20800

2000 Infiniti I30 Parts

1996 Infiniti I30 Parts

Parts Com U00ae

Parts Com U00ae

1996 Infiniti I30 Parts

Parts Com U00ae

Parts Com U00ae

Parts Com U00ae

Parts Com U00ae

2001 Nissan Maxima Parts

22690-40u00

2001 Nissan Maxima Parts

20020-3y400

Car Exhaust Sound

2001 Infiniti I30 Parts

2001 Infiniti I30 Parts

Infiniti Qx4 Exhaust Diagram From Best Value Auto Parts

226a1

2001 Infiniti I30 Maintenance Service Shop Manual Fsm

Parts Com U00ae

1996 Infiniti I30 Parts

G20 Hearing A Low

2001 01 Infiniti I30 Oem Service Repair Shop Manual Cd

Y-pipe Header Information 2000-2003

2001 01 Infiniti I30 Oem Service Repair Shop Manual Cd

Parts Com U00ae

Im Chaning The Oil Pan On My 2001 Infiniti I30 But One Bolt Is Not Accessable Due To An Exhaust

2004 Infiniti I35 Maintenance Service Shop Manual Fsm

1999 Infiniti I30 Engine Diagram

2001 Infiniti I30 Maintenance Service Shop Manual Fsm

1999 Infiniti I30 Engine Diagram

1999 Infiniti I30 Engine Diagram

1999 Infiniti I30 Parts

2001 Infiniti I30 Parts

Parts Com U00ae

Infiniti Qx4 Engine Diagram Coolant

Factory Workshop Service Repair Manual Infiniti I30 1996

2001 Infiniti I30 Service Repair Manual Download By Jshefjsne

2001 Infiniti I30 Maintenance Service Shop Manual Fsm

Parts Com U00ae

Im Chaning The Oil Pan On My 2001 Infiniti I30 But One Bolt Is Not Accessable Due To An Exhaust

Factory Workshop Service Repair Manual Infiniti I30 1996

14032

Infiniti G20 P0400 Dtc

Infiniti G20 P0400 Dtc

2000 Infiniti I30 Exhaust Pipe Liter Emissions Service

2001 Infiniti I30 Parts

20691-30p0a

1999 Infiniti I30 Engine Diagram

Factory Workshop Service Repair Manual Infiniti I30 1996

2000 Infiniti I30 T Ecm Shows Lean Bank 1 Motor Has Surge And Will Die I Can Find No Way To Ck

Diagram 2001 Infiniti I30 Exhaust Diagram

  • Download 2001 Infiniti I30 Exhaust Diagram

    draw.io is free online diagram software for making flowcharts, process diagrams, org charts, UML, ER and network diagrams

    Open and edit diagrams online with Draw.io, a free diagram software supporting various formats and diagram types.

    Create flowcharts and diagrams online with this easy to use software.

    Create a new diagram, or open an existing diagram in your new tab. To create a new diagram, enter a Diagram Name and click the location where you want to save the file.

    Create and edit diagrams with draw.io, a free diagramming tool that integrates seamlessly with Office 365.

    Easily import diagrams from Lucidchart to diagrams.net or draw.io with this simple tool.

    Access and integrate Google Drive files with Draw.io using the Google Picker tool for seamless diagram creation.

    Clearing Cached version 29.3.2... OK Update Start App

    confEmbedUpload=For a better editing experience, please use the regular draw.io macro to insert a blank diagram, then from (File menu → Import From → Device...) select the file you want to upload and embed.

    7.2 The Software will initiate transfers of data forming part of the Diagrams (“Diagram Data”) to services supplied by third parties when you expressly request conversion of Diagrams: a. to another supported file format; and b. to PDF format.

    3 way switch,3 way switch wiring,3 way switch wiring diagram pdf,3 way wiring diagram,3way switch wiring diagram,4 prong dryer outlet wiring diagram,4 prong trailer wiring diagram,6 way trailer wiring diagram,7 pin trailer wiring diagram with brakes,7 pin wiring diagram,alternator wiring diagram,amp wiring diagram,automotive lighting,cable harness,chevrolet,diagram,dodge,doorbell wiring diagram,ecobee wiring diagram,electric motor,electrical connector,electrical wiring,electrical wiring diagram,ford,fuse,honeywell thermostat wiring diagram,ignition system,kenwood car stereo wiring diagram,light switch wiring diagram,lighting,motor wiring diagram,nest doorbell wiring diagram,nest hello wiring diagram,nest labs,nest thermostat,nest thermostat wiring diagram,phone connector,pin,pioneer wiring diagram,plug wiring diagram,pump,radio,radio wiring diagram,relay,relay wiring diagram,resistor,rj45 wiring diagram,schematic,semi-trailer truck,sensor,seven pin trailer wiring diagram,speaker wiring diagram,starter wiring diagram,stereo wiring diagram,stereophonic sound,strat wiring diagram,switch,switch wiring diagram,telecaster wiring diagram,thermostat wiring,thermostat wiring diagram,trailer brake controller,trailer plug wiring diagram,trailer wiring diagram,user guide,wire,wire diagram,wiring diagram,wiring diagram 3 way switch,wiring harness

    close